《施工現場標志牌大全》基本涵蓋了施工現場各類標志牌的內容和布置,主要包括:各種安全類標志牌、施工現場各類生產管理制度標志牌、各級管理人員崗位職責標志牌、各類施工人員安全操作規程牌,施工現場生活區各類管理制度標志牌。
一、禁止標志






二、警告標志




三、指令標志




四、提示標志

五、明示標志









附錄A1 禁止標志的基本形式

禁止標志的基本形式標志牌
禁止標志的制作要求按《安全標志》GB2894執行
附錄A2 警告標志的基本形式

警告標志的基本形式標志牌
警告標志的制作要求按《安全標志》GB2894執行
附錄A3 指令標志的基本形式

指令標志的基本形式標志牌
指令標志的制作要求按《安全標志》GB2894執行
附錄A4 提示標志的基本形式

提示標志的基本形式標志牌
提示標志的制作要求按《安全標志》GB2894執行
附錄B1 安全帽
佩戴規定:
項目部管理、現場管理人員佩戴紅色安全帽
普通工人佩戴黃色安全帽
文字標準:
字體:中黑簡
字號:大字為50號小字為30號

附錄B2 安全員袖標

附錄B3 胸卡

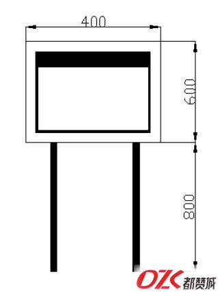
附錄B4 400 X 300標志牌的基本形式

附錄B5 800 X 600標志牌的基本形式

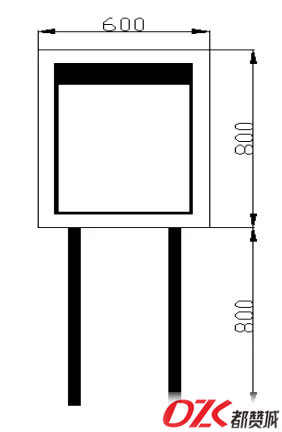
附錄B6 600 X 800標志牌的基本形式

附錄B7 1500 X 2000類型標志牌的基本形式

附錄B8 2000 X 1500標志牌的基本形式

附錄B9 2500 X 2000標志牌的基本形式

附錄B 10墩號牌的基本形式

附錄B 11配合比標識牌的基本形式

附錄B 12(半)成品材料標識牌

附錄B 13材料標識牌

附錄B 14機械設備標志牌

六、其他說明
1、基地標牌
項目經理部大門口顯著位置掛有“某某項目部”標牌,標牌使用銅板制作,面積不小于50*70cm
2、施工現場標牌
1)工程概況牌:尺寸3.2m*1.9m,藍底白字,鑲白邊,鋁板制作、字使用反光膜制作,牌柱采用鍍鋅鋼管,露出地面部分大于3米,利于標段起點處,標牌內容:工程名稱、合同造價、建設單位、設計單位、施工單位、監理單位、工期、項目經理、技術負責人、質量目標等。

2)施工現場標牌:大?。?.5m*0.9m),表明施工段落(部位),有關責任人(技術員、安全員、施工員(施工隊長)、關鍵工序操作手等)。

上一條:淺談停車場指示牌制作規范要點
下一條:淺談寫字樓標識系統規劃設計方案

400-018-2016
17737500969
QQ :3003876893